Betonpumpen von 20 bis 61 m

← Zurück zur Hauptseite

Betonpumpe S 24 X

Der kompakte "Alleskönner"

Für Einsätze in der Halle, im Tunnel sowie auf kleineren Baustellen - die S 24 X ist auch schnell und mühelos als Schlauchpumpe einsetzbar.

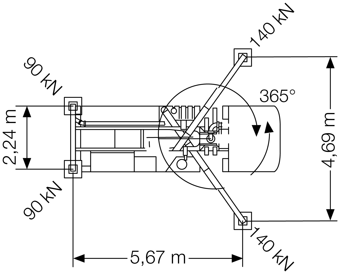
Technische Daten

Reichhöhe (m) 23,50
Reichweite (m) 19,50
Reichtiefe (m) 12,80
Ausfalthöhe (m) 4,89
Abstützbreite vorne (m) 4,69
Abstützbreite hinten (m) 2,24
Stützdruck vorne (kn) 140
Stützdruck hinten (kn) 90
Fahrzeughöhe (m) 3,85
Fahrzeuglänge (m) 9,95

 

Technische Zeichungen